dnes je 9.3.2026

Input:

Fixace manipulačních jednotek (nákladů)

30.7.2010, , Zdroj: Verlag Dashöfer

8.3.8
Fixace manipulačních jednotek (nákladů)

Ing. Antonín Dušátko

Vymezení základních pojmů

Fixace je obecně chápána jako zajištění manipulační jednotky – nákladu (a to jednak v dopravních prostředcích nebo na nich), a to proti vzájemnému posunu. V oblasti přepravních služeb se za fixaci považuje zajištění zásilky uvnitř dopravního prostředku, aby nedošlo k poškození ani zásilky ani dopravního prostředku.

Obal je soubor obalových prostředků umožňující pojmutí (uložení), manipulaci, ochranu a dodání výrobku/ů, nebo odpadu/ů. Obaly znamenají veškeré výrobky zhotovené z jakéhokoliv materiálu a jakékoliv povahy, které mají být použity k pojmutí, k ochraně, dodávce a k prezentaci zboží, od surovin až po hotový výrobek, od výrobce až po uživatele či spotřebitele. Obaly se člení na:

  • Spotřebitelské – primární obaly – obaly určené k tomu, aby tvořily v místě nákupu jednotku pro konečného uživatele nebo spotřebitele,

  • Skupinové – sekundární obaly – obaly určené k tomu, aby v místě nákupu tvořily skupinu určitého počtu prodejních jednotek, ať už je tato skupina prodávána konečnému uživateli či spotřebiteli, nebo slouží pouze jako pomůcka pro umístění do regálů v místě prodeje; mohou být z výrobku odstraněny, aniž se tím ovlivní jeho vlastnosti,

  • Přepravní – terciární obaly – obaly určené k usnadnění manipulace a přepravy určitého množství prodejních jednotek nebo skupinových obalů, aby se při manipulaci a přepravě zabránilo jejich fyzickému poškození.

Poznámky:

  1. Mezi obaly jsou v současnosti začleněny kupř. bedny, lísky, přepravky, sudy apod., ale také palety.

  2. Kontejnery nejsou chápány jako přepravní obaly.

Za výrobek je považována jakákoliv věc, která byla vyrobena, vytěžena nebo jinak získána bez ohledu na stupeň jejího zpracování.

Fixace a důsledky nedokonalé fixace

Až příliš mnoho dopravních nehod, ke kterým dochází v rámci silniční dopravy, má prvotní příčinu v nedokonale fixovaném nákladu na příslušném dopravním prostředku (popř. převáženého výrobku v použitém obalu), o čemž nás často informuje nejen televize, ale i další sdělovací prostředky. Podobný stav ale platí i na úseku vnitrozávodové dopravy. Rovněž značná část úrazovosti, jakož i dalších nežádoucích událostí vykazovaných v rámci manipulace s materiálem, má svoji základní příčinu v nedokonale fixovaném (zajištěném) materiálu (nákladu) v rámci vytvořené manipulační jednotky (obalu), popř. jejího jištění při prováděných manipulací.

Poznámka:
Dopravní nehoda je definována jako událost v provozu na pozemních komunikacích, jako např. havárie nebo srážka, která se stala, popř. byla započata na pozemní komunikaci a při níž došlo k usmrcení nebo zranění osoby nebo ke škodě na majetku v přímé souvislosti s provozem vozidla v pohybu (viz zákon č. 13/1997 Sb., o pozemních komunikacích).

Důsledky nedokonalé fixace – zejména v podobě ublížení na zdraví zúčastněných osob, jakož i ekologických havárií apod. – mohou mít pro zaměstnavatele (vedoucí a zodpovědné zaměstnance) vedle možnosti finančních postihů až trestněprávní důsledky. V neposlední řadě se následky nedokonalé fixace významně promítají i do ekonomických ztrát, a to jak na podnikatelské, tak i celostátní úrovni. Pro získání alespoň základního pohledu na tuto otázku lze uvést, že každoroční ztráty vznikající z titulu nedostatečně upevněných – fixovaných zásilek se kupř. v SRN odhadují na cca 500 milionů EUR.

Každý člověk, jedoucí kupř. ve vlaku, autobuse apod. má dostatek zkušeností se silami, které na něj budou působit zejména při rozjezdu, zatáčení a brzdění příslušného dopravního prostředku. Uvedené síly budou tím větší, čím bude rozjezd a brzdění intenzivnější a při stejné rychlosti čím bude zatáčka "ostřejší“. Stejné síly ale působí i na převážený náklad – viz následující obrázek. Obrazně lze říci, že při rozjíždění vozidla chce náklad "zůstat na svém místě“ (vlivem akceleračních sil), při zatáčení "se chce pohybovat do strany“ (vlivem odstředivých sil) a při brzdění vozidla "chce pokračovat v pohybu vpřed“ (vlivem brzdných sil).

Síly působící na náklad v silniční přepravě

Je tudíž třeba respektovat tento následující požadavek:

Manipulační jednotku (náklad) je nutno vytvořit a na dopravním (přepravním) prostředku fixovat tak, aby upevnění výrobku – nákladu v rámci celého předpokládaného manipulačně-dopravního řetězce udrželo náklad a odolalo všem očekávaným silám.
Poznámka:
Při nárazu a převrácení silničního vozidla, jakož i manipulačního prostředku (motorového vozíku), vznikají takové síly, které normální fixace jen stěží může zachytit.

Právní odpovědnost za řádnou fixaci

Respektovat výše uvedený požadavek vyplývá pro zaměstnavatele, jakož i vedoucí zaměstnance přímo z bezpečnostních předpisů – a to jak bezpečnostně technické, tak i bezpečnostně provozní povahy. Zaměstnavatelé mají všeobecnou povinnost zajistit bezpečnost a ochranu zdraví svých zaměstnanců při práci s ohledem na jednotlivá rizika možného ohrožení jejich života a zdraví, která se týkají výkonu práce; to znamená též ve vazbě na rizika vyplývající ze špatné či nedokonalé fixace – a to jak výrobků v obalech, manipulačních jednotkách, tak i vlastních manipulačních jednotek, nákladů na dopravních prostředcích (§ 101 odst. 1 zákona č. 262/2006 Sb.). Pro vedoucí zaměstnance na všech stupních řízení pak péče o bezpečnost a ochranu zdraví při práci uloženou zaměstnavateli – viz výše, tvoří nedílnou a rovnocennou součást jejich pracovních povinností (§ 101 odst. 2 zákona č 262/2006 Sb.).

Požadavky, které je třeba respektovat při fixaci nákladů na vozidlech určených k provozu na pozemních komunikacích – a to bez rozdílu. Z nich upozorňujeme na plnění zejména následujících povinností:

  1. Náklady na vozidle musejí být umístěny tak, aby zejména neomezovaly a neohrožovaly řidiče a nebránily výhledu z místa řízení (§ 52 odst. 1 zákona č. 361/2000 Sb.).

  2. Náklad musí být na vozidle tak umístěn a upevněn (fixován), aby byla zajištěna stabilita a ovladatelnost vozidla a aby náklad mj. neohrožoval bezpečnost provozu na pozemních komunikacích, přičemž uvedené platí i pro prostředky sloužící k upevnění a ochraně nákladu (§ 52 odst. 2 zákona č. 361/2000 Sb.).

  3. Přečnívá-li náklad vozidlo vpředu nebo vzadu více než o 1 000 mm nebo přečnívá-li náklad z boku u motorového vozidla nebo jízdní soupravy vnější okraj obrysových světel více než o 400 mm a u nemotorového vozidla jeho okraj více než o 400 mm, musí být přečnívající konec nákladu označen červeným praporkem o rozměrech nejméně 300 3 300 mm; za snížení viditelnosti pak vpředu neoslňujícím bílým světlem a bílou odrazkou a vzadu červeným světlem a červenou odrazkou (§ 52 odst. 3 zákona č. 361/2000 Sb.).

  4. Při přepravě sypkých substrátů musí být náklad tak zajištěn, aby nedocházelo k jeho samovolnému odlétávání (§ 52 odst. 6 zákona č. 361/2000 Sb.).

Nejdůležitější zásady pro fixaci nejrůznějších výrobků v obalech a kontejnerech, jakož i pro fixaci různých manipulačních jednotek – nákladů na silničních vozidlech, ze kterých lze vycházet při snaze o splnění požadavků výše citovaných bezpečnostních a dopravních předpisů, uvádíme dále.

Fixace výrobků v obalech

Vedle fixace celých manipulačních jednotek – nákladu (přepravního balení) v průběhu přepravy je primární pozornost nutno věnovat fixaci samotných výrobků v obalech. Volba typu fixace a stanovení optimálního fixačního systému by měla vycházet ze základní charakteristiky příslušného výrobku, předpokládaných rizik mechanického namáhání v průběhu prováděných manipulačních úkonů, přepravy a použitých obalových materiálů a prostředků. Z hlediska řešení fixace v návaznosti na mechanická namáhání v manipulačně-přepravních řetězcích je nutné brát v úvahu zejména rizika:

  1. tlakových sil na přepravní balení, která vznikají hlavně při skladování a přepravě; vyjadřují se tlakem na nejníže položenou jednotku balení a dobou jeho působení,

  2. rázů při volném pádu přepravních balení, která vznikají hlavně při prováděné manipulaci; účinky rázů jsou závislé na počtu a výšce pádů jednotky balení, odolnosti a ochranné účinnosti obalu a příslušné manipulační jednotky,

  3. horizontálních rázů na přepravní balení, která vznikají zejména při náhlé změně rychlosti dopravního prostředku a při prováděné manipulaci. Tato rizika jsou dominantní zejména v železniční dopravě; účinky jsou závislé na mohutnosti a počtu rázů, druhu a stavu železničního vozu a způsobech ložení a fixace v dopravních prostředcích,

  4. opakovaných otřesů přepravních balení, která vznikají při přejíždění nerovností povrchu dopravní cesty a vzájemným působením pohonných, nosných a spojovacích prvků soustavy a jsou ovlivněny druhem, typem a technickým stavem dopravního prostředku a dopravní cesty, způsobem a rychlostí jízdy, hmotností nákladu, způsobem ložení, vnější fixací a dynamickými parametry jednotky balení. Tato rizika jsou dominantní u silniční dopravy,

  5. vibrací přepravních balení, která vznikají při mechanickém kmitání vyvolaném dopravním prostředkem a jsou ovlivněna druhem, typem a technickým stavem dopravního prostředku a dopravní cesty, způsobem a rychlostí jízdy, hmotností a dynamickými parametry nákladu, ložením, provedením vnější fixace a aerodynamickými vlivy; jsou dominantní u letecké přepravy.

Výrobky lze v obalech fixovat dvěma způsoby:

  1. pomocí pevné fixace,

  2. pomocí poddajné fixace.

Při použití pevné fixace je výrobek spojen s obalem v souvislý pevný celek, jehož jednotlivé části nemohou prakticky změnit svoji vzájemnou polohu. Pevná fixace zachycuje vnější síly a přenáší je na výrobek nebo jeho části, které ale musejí být schopny účinkům těchto sil odolat. Při použití fixace poddajné vytváří výrobek s obalem souvislý, avšak ne pevný celek, ve kterém má výrobek možnost kontrolovaného pohybu uvnitř obalu. Vzhledem k tomu, že nesprávně navržená fixace může být základní příčinou vzniku nejen úrazů, ekologických havárií, ale i značných materiálních škod v rámci prováděného manipulačně-přepravního cyklu, je nutno problematice fixace výrobků v obalech, jakož i fixace celých manipulačních jednotek věnovat potřebnou pozornost.

Systémy pevné fixace

Řešení systému pevné fixace musí vycházet zejména z citlivosti příslušného výrobku a jeho součástí k mechanickému namáhání, z tvaru a konstrukce výrobku, jeho hmotnosti a rozložení této hmotnosti uvnitř obalu a předpokládaného namáhání. Hlavní systémy pevné fixace jsou:

  1. připevnění výrobku ke dnu obalu: předpokladem pro použití tohoto systému je výrobek s pevnou základnou, která pevně souvisí s ostatní hmotou výrobku. Připevnění se provádí pomocí šroubů, patek, uhelníků, přířezů, klínů apod.,

  2. připevnění výrobku ke dnu obalu a vzepření proti stěnám a víku: tento systém je vhodný pro výrobky výškového tvaru, pro výrobky s těžištěm v horní části a pro výrobky s nižší odolností základny. Vzepření se provádí přířezy, klíny, vzpěrami atd., které je ale třeba zajistit proti posunutí,

  3. podepření vyčnívajících těžkých dílů v horní části: tento systém je použitelný u výrobků vysokých s vyčnívajícími těžkými součástmi v jeho horní části, které se podepřou vzpěrami a tím se jejich tíha přenáší na dno obalu,

  4. znehybnění pohyblivých částí: pohyblivé části výrobku se zajistí proti samovolnému pohybu aretací nebo zvláštním systémem pomocí zarážek, přířezů, drátů, pásky apod.,

  5. připevnění oddělených částí výrobku ke dnu, případně stěnám obalu nebo vložení do dutých prostorů obalu: tento systém je uplatnitelný při fixaci demontovaných součástí výrobků, náhradních dílů a příslušenství balených ve společném obalu a výrobkem.

Systémy poddajné fixace

Pro řešení poddajné fixace se využívají fixační prostředky z poddajných materiálů na bázi papíru, pryže, plastů, textilu atd. Tyto systémy se uplatňují pro výrobky citlivé vůči mechanickým rizikům (výrobky elektrotechnické, přesného strojírenství, ze skla, keramiky apod.). K hlavním systémům poddajné fixace patří:

  1. vložení výrobku do tvarových vložek zcela obklopujících výrobek: tento systém se používá pro výrobky s výraznou citlivostí na mechanické namáhání. Tvarované vložky se zhotovují z materiálů na bázi lehčených plastů – polystyrenu, polyuretanu, polyetylenu atd.,

  2. vložení výrobku mezi dvě koncové tvarované vložky: tento systém je použitelný pro dostatečně pevné výrobky. Koncové vložky, vyrobené nejčastěji z lehčených plastů, případně pryže, se umisťují ve svislém nebo vodorovném směru,

  3. vložení výrobku do hranatých nebo rohových vložek: tento systém je vhodný pro dostatečně pevné výrobky obvykle tvaru pravidelného rovnoběžnostěnu. Do všech rohů, případně do všech hran obalu se umístí vložky, a to podle charakteru výrobku. Vložky se zhotovují z lehčených plastů, gumožíní, pryže, vlnité lepenky apod.,

  4. obložení výrobku souvislými nebo částečnými plochými polštáři: použití tohoto systému je vhodné u výrobků tvaru pravidelného rovnoběžnostěnu, nebo bloku výrobků složeného z několika výrobků obdobného tvaru. Druh použitých polštářů je určen charakterem výrobku; polštáře mohou být souvislé nebo jen dílčí ve formě pruhů, věnců apod. Pro polštáře se používají desky a jiné plošné útvary s výhodnou tlumící účinností, vhodné jsou materiály na bázi lehčených plastů, plastové hadice naplněné vzduchem apod.,

  5. vyplnění prostoru mezi výrobkem a obalem drobně tvarovanými fixačními prvky: tento systém je zejména vhodný pro členité a citlivé výrobky. Pro vyplnění prostoru se používají fixační tělíska z lehčených plastů, dřevitá, celofánová či papírová vlna, polyuretanová, příp. pryžová drť apod.,

  6. přímé zapěnění výrobku v obalu: systém je vhodný pro výrobky s nerovnoměrným povrchem. Výrobek povrchově chráněný a separovaný plastovou fólií se zapění polyuretanovou nebo jinou pěnou tak, že se vytvoří s obalem kompaktní celek,

  7. balení výrobku do tepelně tvarovaných fólií: do tohoto systému patří balení do smrštitelné fólie, do které se výrobek navlékne, následně zavaří a ve smršťovacím tunelu dojde ke smrštění fólie a tím pevnému obepnutí výrobku.

Fixace na prosté paletě

Jako přepravní prostředek je poměrně často používána i prostá paleta, otázce dostatečného zajištění ložených materiálů na takovýchto paletách není ale vždy věnována potřebná pozornost. Dokonce jsou poměrně často zjišťovány případy, že ložený materiál není vůbec zajištěn. Nedokonalá a závadná fixace zejména na prostých paletách je častou příčinou vykazované úrazovosti (ale i dalších nežádoucích událostí) vázané na manipulační jednotky, popř. přepravní balení.

Při zajišťování materiálu loženého na prosté paletě (obdobném přepravním prostředku) je nutno též sledovat, aby prováděná fixace nepoškodila prostou paletu (přepravní prostředek) – viz levou část následujícího obrázku, případně ložený materiál. K ochraně ložených materiálů lze použít vhodné ochranné prvky v podobě ochranných hran, pruhů, rámů apod., vyráběné z kovů, plastů, případně papíru – viz následující obrázek.

Provedená fixace nesmí poškodit přepravní prostředek ani ložený materiál

Kontejnery

Kontejner je specifikován jako část dopravního zařízení, které je:

  • trvalého charakteru a dostatečně pevné pro opakované používání,

  • speciálně konstruované k usnadnění přepravy zboží jedním nebo několika druhy dopravy bez mezipřekládky jeho obsahu,

  • vybavené zařízením umožňujícím jeho okamžitou manipulaci, zejména přemístění z jednoho druhu dopravy na jiný,

  • konstruováno tak, aby je bylo možno snadno plnit a vyprazdňovat,

  • s vnitřním objemem nejméně 1 m3.

Vzhledem k tomu, že ložené kontejnery, které představují zcela atypické manipulační jednotky, nejsou ani zahrnuty mezi obaly, je otázce ložení a fixace kontejnerů věnována samostatná pozornost.

Ložení kontejnerů

Ještě před ložením kontejneru je třeba pokud možno příslušné zboží (náklad) upravit tak, aby byla co nejvíce využita jeho nosnost nebo úložný prostor. Při ložení je pak třeba sledovat, aby náklad byl po kontejneru rozmístěn rovnoměrně s cílem, aby těžiště loženého kontejneru se nalézalo pokud možno co nejblíže jeho geometrického středu a co nejníže. Náklad nalézající se uvnitř kontejneru musí být současně tak uložen a fixován, aby účinky dynamických sil, vznikajících při manipulaci a přepravě, nepoškodily náklad nebo příslušný kontejner.

Zboží – materiál při ložení kontejneru je obecně třeba ukládat tak, aby:

  • vytvořený náklad byl kompaktní – bez volných mezer mezi jednotlivými kusy zboží (materiálu) a také mezi nákladem a stěnami, případně dveřmi kontejneru,

  • jednotlivé vrstvy vyplňovaly celou ložnou plochu, přitom žádná vrstva by neměla být kratší nebo užší než vrstvy spodní; pouze horní vrstva může být neúplná (pokud je řádně zajištěna proti jakémukoliv pohybu),

  • zboží v obalech z méně odolných materiálů (lepenka, papír, tkanina apod.) bylo odděleno vhodnými proklady od zboží v dřevěných nebo kovových obalech, resp. v obalech s nepravidelným tvarem nebo ostrými hranami,

  • jednotlivé vysoké a těžké kusy byly zajištěny proti převrhnutí,

  • jednotlivé těžké kusy, konstrukce, stroje apod. s malou úložnou plochou byly umístěny na pevné podložky v podélné ose kontejneru,

  • nebylo překročeno nejvýše přípustné zatížení podlahy kontejneru jednotlivými těžkými předměty s malými úložnými plochami, popř. koly manipulačních vozíků (max. 2 300 kg na ploše 140 cm2),

  • nebylo překročeno užitečné zatížení (nosnost) kontejneru – tj. maximální dovolená hmotnost užitečného zatížení, včetně fixačních prostředků a zařízení pro náklad a/nebo prokladů, které nejsou součástí kontejneru v jeho normálních provozních podmínkách,

  • po uložení neznemožňovalo volné uzavírání a otevírání dveří kontejneru,

  • v kontejnerech s otevřeným vrchem nepřesahoval náklad nad výšku stěn a nemohlo tak při stohování kontejneru dojít k poškození nákladu nebo kontejneru, nebo k ohrožení bezpečnosti práce při manipulaci s kontejnerem, popř. bezpečnosti provozu.

Zajišťovací prostředky pro náklady kontejnerů

Pro zajištění zboží (nákladu) uloženého v kontejneru lze použít zejména:

  1. Uvazovací prostředky, sloužící k upevnění jednotlivých těžkých kusů, upevnění jednotlivých vrstev, popřípadě celého nákladu k upevňovacím prvkům v kontejneru tak, aby byl zamezen jeho posuv jak v podélném, tak i v příčném směru. K fixaci třeba použít fixační prostředky v takovém počtu a pevnosti, aby zajistily bezpečnou fixaci nákladu během předpokládané přepravy. Lze vycházet z předpokladu, že náklad bude bezpečně zajištěn v podélném směru (ve směru max. sil), pokud pevnost uvazovacích prostředků bude 32 kN na 1 000 kg hmotnosti nákladu.
    Uvazovací prostředky je třeba umístit tak, aby se nemohly dotýkat ostrých hran nákladu. Náklady s lehce poškoditelným povrchem je třeba ochránit vhodným obalem. Drátěná lana, řetězy a popruhy použité k uvázání by měly být opatřené napínacím zařízením. Uvazovací prostředky použité a působící ve stejném směru na obou stranách nákladu by měly být stejné délky a měly by svírat s podlahou malý úhel.

  2. Fixační dřeva, jedná se o měkké hraněné dřevo o průřezu alespoň 50 3 80 mm, upevňované svými konci v prolisovaných kontejnerových stěnách. Průřez a počet použitých dřev by měl vycházet z hmotnosti a povahy fixovaného nákladu. Pro fixaci těžkých předmětů o hmotnosti větší než 4 000 kg uvnitř kontejneru proti podélným silám je nutno používat trámce z měkkého dřeva o průřezu minimálně 80 3 80 mm. Příčné fixační trámce by se měly opírat o stěny v celé ložné šířce u podlahy kontejneru nebo je vhodné je zachytit o rohové prvky kontejneru – viz následující obrázek.

    Použití fixačních trámců
  3. Ostatní fixační prostředky; v úvahu přicházejí zejména gumové rohože, dřevěné palety prosté, nafukovací vzduchové fixační podušky, kartonové pažení apod. Gumové rohože jsou vhodné pro utěsnění jednotlivého zboží nebo k jeho ochraně proti poškození. Dřevěné palety prosté postavené na výšku jsou vhodné k vyplnění mezer mezi nákladem a stěnami kontejneru. Relativně nový fixační prostředek představují vzduchové fixační podušky – viz levý následující obrázek, plnící funkci "měkkého nárazu“. Kartonové pažení slouží pro vyplnění volného prostoru mezi zbožím v kontejneru, jeho rozměry musí vždy odpovídat velikosti vytěsňovaného prostoru. Výhodou je plná recyklovatelnost.

    Použití vzduchové podušky
    Fixace pomocí kartonového pažení

Fixace kontejnerů

Náklad kontejneru by měl být vytvořen a uvnitř kontejneru zajištěn tak, aby ložený kontejner vytvořil kompaktní manipulační jednotku. V průběhu přepravy pak musí být kontejner fixován k nosnému vozidlu nebo lodi. Vzhledem k tomu, že hlavní pevnost kontejneru je odvozena od jeho spodního rámu, provádí se fixace pomocí dolních rohových prvků – prvků umístěných v rozích kontejneru umožňující jeho podepření, stohování, manipulaci a fixaci. Uvedení do správné polohy všech fixačních prostředků musí být kontrolováno před jejich umístěním i odebráním, jejich správné použití pak před započetím i v průběhu prováděné přepravy. Na palubě námořní lodi v námořní přepravě jsou kontejnery vystaveny silám vznikajícím z pohybu lodi, působení větru a moře.

Poznámky:

  1. Rozdílné požadavky na fixaci v námořní přepravě jsou kladeny i podle teritoria – kupř. pro Atlantský oceán a Středozemní moře.

  2. Fixace kontejnerů v námořní přepravě v našich podmínkách téměř nepřichází v úvahu.

Fixace kontejnerů v silniční a železniční přepravě

Během přepravy po silnici nebo po železnici jsou kontejnery vystaveny silám a vibracím vznikajícím od brzdění, posunování, zatáčení, akcelerace, nerovností povrchu jízdní dráhy a větru. V průběhu přepravy nesmí žádná část kontejneru zasahovat přes čelní nebo zadní část nosného vozidla. Přepravované kontejnery musejí být řádně zajištěny s výjimkou přesunů prováděných v terminálových překladištích, které ale musejí probíhat při nízkých rychlostech na kratší vzdálenosti uvnitř vyhrazených ploch.

Při silniční přepravě musí být kontejner na přizpůsobeném silničním vozidle podepřen pouze za všechny čtyři dolní rohové prvky – viz levý následující obrázek, nebo za mezilehlá místa pro přenos zatížení v konstrukci jeho spodku. Nejobvyklejší způsob fixace se provádí pomocí otočných zámků – viz pravý obrázek. Po řádném dosednutí rohových prvků ukládaného kontejneru (viz pravou část obrázku) na úložná místa silničního vozidla nutno provést zajištění – uzamknutí všech čtyřech rohových prvků (viz levou část obrázku) a tím kontejner dostatečně fixovat k silničnímu vozidlu. Z obrázku je patrné, že okamžitá poloha otočného zámku je vizuálně dostatečně zřejmá. Pro zajištění bezpečného provozu je nutno ještě předpojížděním vozidla překontrolovat celkovou fixaci kontejneru.

Poznámka:
Před zdviháním kontejneru nutno spolehlivě odemknout otočný zámek a tím kontejner uvolnit z jeho fixace.
Fixace kontejneru v silniční dopravě
Otočný zámek a jeho použití

Rovněž při železniční přepravě musí být kontejner na přizpůsobeném železničním voze (viz det. A na levém následujícím obrázku) podepřen pouze na všech čtyřech rohových prvcích a v těchto místech také fixován k železničnímu vozu. Rovněž při této přepravě musí být okamžitě zřejmá poloha fixačního zařízení a předpojížděním kontejnerového železničního vozu také překontrolována provedená fixace. Před zdviháním kontejneru musejí být rovněž uvolněna veškerá uzamykací zařízení.

Fixace kontejneru v železniční dopravě
Detail fixačního prvku

V některých státech se začínají po železnici přepravovat kontejnery ve dvojitém stohu – viz levý následující obrázek. Fixace dolního kontejneru k železničnímu vozu se provádí obvyklým způsobem – viz výše. Specifický problém ale vzniká při fixaci horního kontejneru ke spodnímu (mj. pro zvětšení plochy vystavené účinkům větru), který byl vyřešen pomocí speciálního fixačního prvku – viz pravý následující obrázek.

Železniční vůz upravený pro dvojitý stoh kontejnerů
Fixační prvek Poznámka:
Zcela specifický fixační problém představují kupř. kontejnery s pohyblivým těžištěm – ložené kapalinou, sypkým materiálem, závěsným pohyblivým nákladem, popř. nákladem s kluzným způsobem jeho uložení umožňující omezené posuvy nákladu.

Fixace ostatních břemen – nákladů v silniční přepravě

Porovnání základní způsobů prováděné přepravy

V našich podmínkách objem přepravy zboží (nákladů) po silnici, který se za rok dlouhodobě pohybuje v rozsahu 400 000–550 000 tis. tun, převyšuje více než čtyřikrát objem přepravy nákladů po železnici. Přitom roční přepravní výkon v silniční přepravě tuzemských vozidel, který se dlouhodobě pohybuje v hodnotách 31 000–40 000 mil. tkm, má dokonce vzestupný trend. Oproti tomu přeprava zboží (nákladů) po železnici, vyjádřená přepravním výkonem, má sestupnou tendenci; dlouhodobě se za rok pohybuje v hodnotách 23 000–17 000 mil. tkm. Také z tohoto důvodu je nutno upevňování nákladů v silniční přepravě věnovat potřebnou pozornost.

Velikosti sil působících na náklad

Při řešení fixace nákladů na silničním vozidle lze vycházet z následujících předpokladů (viz též následující obrázek):

  1. Síly ve směru jízdy vozidla mohou dosáhnout až hodnoty odpovídající hmotnosti nákladu.

  2. Síly proti směru jízdy vozidla mohou dosáhnout až hodnoty odpovídající polovině hmotnosti nákladu.

  3. Síly do stran oproti směru jízdy vozidla mohou dosáhnout až hodnoty odpovídající polovině hmotnosti nákladu.

Síly působící na náklad v silniční přepravě

Poznámky:

  1. Uvedená hodnota síly ve směru jízdy vozidla – 1,0 (hmotnosti nákladu), používaná v dřívějším období, vyplývá z hodnot podélného zrychlení dle IMO (Mezinárodní námořní organizace) a to ve vazbě na statický součinitel smykového tření μs.– mezi břemenem a přilehlým povrchem ložné plochy vozidla.

  2. Při silniční dopravě ale vibrace způsobují nadnášení nákladu; v této souvislosti pro výpočet upevňovacích sil je třeba v současnosti vycházet (podle EN 12195-1) z hodnot dynamického součinitele smykového tření μd – mezi břemenem a přilehlým povrchem ložné plochy vozidla a z hodnoty síly odpovídající 0,8 (hmotnosti nákladu).

Faktory ovlivňující jištění nákladu

Nejdůležitější faktory, které je třeba brát v úvahu při jištění nákladu, tvoří:

  1. Gravitace, působící kolmo na ložnou plochu vozidla; její velikost je přímo úměrná hmotnosti nákladu.

  2. Akcelerace, způsobující, že při rozjezdu vozidla a zvyšování jeho rychlosti ve směru jízdy má náklad snahu se pohybovat vzad silou, která je přímo úměrná velikosti zrychlení vozidla. Při řešení fixace nákladu proti jeho pohybu dozadu je třeba vzít v úvahu maximální velikost této síly úměrné polovině hmotnosti nákladu.

  3. Odstředivé síly, způsobující, že při jízdě vozidla v zatáčce má náklad snahu se pohybovat přibližně po dráze dané původním směrem. Síla, jejíž velikost je v každém okamžiku přímo úměrná hmotnosti nákladu, kvadrátu rychlosti vozidla a nepřímo úměrná poloměru zatáčení, má snahu posunout náklad ke straně vozidla. Při řešení fixace nákladu proti odstředivým silám je třeba vzít v úvahu maximální velikost těchto sil úměrnou polovině hmotnosti nákladu.

  4. Brzdění, způsobující, že při zpomalování vozidla ve směru jeho jízdy má náklad snahu se pohybovat dopředu silou, která je úměrná velikosti zpomalení vozidla. Při řešení fixace nákladu proti jeho pohybu dopředu je třeba vzít v úvahu maximální velikost této síly úměrné 0,8 hmotnosti nákladu.

  5. Vibrační síly, které jsou sice relativně malé, ale v průběhu jízdy vozidla mohou působit i dlouhodobě a ve svém konečném důsledku mohou způsobit i "odsunutí“ převáženého nákladu z jeho původního umístění, což může mít až katastrofální důsledky.

  6. Hmotnost nákladu, která přímo ovlivňuje velikosti sil, kterým je převážený náklad během přepravy vystaven. Je rozhodujícím faktorem pro výpočet a určení způsobu upevnění nákladu.

  7. Tření, působící proti silám, jímž je náklad během přepravy vystaven. Jeho hodnota je dána stavem ložné plochy (podlahy) příslušného vozidla a stavem plochy nákladu spočívajícího na ložné ploše. Přitom platí, že suché plochy mají větší hodnotu tření (součinitele smykového tření µ) oproti plochám mokrým, případně mastným. Podobně u dřevěných ploch je vykazována větší hodnota tření oproti plochám kovovým. Tření za klidu je vždy větší v porovnání s třením za pohybu.

Stanovení součinitele smykového tření

Pro výpočet upevňovacích (jistících) sil a tím i zajištění bezpečné fixace převážených a manipulovaných nákladů – břemen je třeba prioritně stanovit součinitele smykového tření pro příslušné dvojice materiálů. Poměrně jednoduchým způsobem lze určit statický součinitel smykového tření μs, a to pomocí nakloněné roviny – viz následující přehled.

Z předcházejícího přehledu je zřejmé, že pro počátek prokluzu při úhlu 5,7 ° vychází hodnota statického součinitele smykového tření μs = 0,1, atd., až pro úhel 21,8 °,kdy μs má hodnotu 0,4.

Pro výpočty upevňovacích sil lze použít i následující tabulku hodnot statických a dynamických součinitelů smykového tření μs a μd. Je třeba ale zdůraznit, že uvedené hodnoty jsou použitelné pouze pro čisté na suché povrchy pod střechou, zbavené námrazy nebo ledu a sněhu. Pro získání představy o vlivu znečištění povrchů – kupř. oleji na hodnotu sledovaných součinitelů – je zařazen i příklad naolejovaných kovových plechů – viz zvýrazněnou část.

Kombinace materiálů v kontaktu s povrchem μs μd
Řezivo na tvrzeném vrstveném dřevě/překližce 0,5 0,35
Řezivo na drážkovaném hliníku 0,4 0,3
Řezivo na ocelových plechách 0,4 0,3
Řezivo na zvlněné fólii 0,3 0,2
Zvlněná fólie na tvrzeném vrstveném dřevě/překližce 0,4 0,3
Zvlněná fólie na drážkovaném hliníku 0,4 0,3
Zvlněná fólie na ocelových plechách 0,4 0,3
Zvlněná fólie na zvlněné fólii 0,4 0,3
Lepenková krabice na lepenkové krabici 0,5 0,35
Lepenková krabice na dřevěné paletě 0,5 0,35
Velké pytle na dřevěné paletě 0,4 0,3
Naolejované kovové plechy na naolejovaných kovových plechách 0,1
Ploché ocelové tyče na řezivu 0,5 0,35
Nenatřené drsné ocelové plechy na řezivu 0,5 0,35
Nenatřené drsné ocelové plechy na nenatřených drsných ocelových plechách 0,4 0,3
Nenatřené drsné ocelové plechy na natřených drsných ocelových plechách 0,3 0,2
Natřené ocelové sudy na natřených ocelových sudech 0,2 0,15
Zeď na zdi bez střední vrstvy (beton/beton) 0,7 0,5
Prefabrikáty s dřevěnou střední vrstvou na dřevě (beton/dřevo/dřevo) 0,5 0,4
Stropní panel na stropním panelu bez střední vrstvy (beton/příhradový nosník) 0,7 0,6
Ocelový rám se střední dřevěnou vrstvou (ocel/dřevo) 0,5 0,4
Stropní panel na ocelovém rámu s dřevěnou střední vrstvou (beton/dřevo/ocel) 0,55 0,45
Poznámka:
Pokud jsou pro zvýšení třecích sil používány různé podložky odolné proti skluzu, protiskluzné nátěry apod., je nutno při určení hodnoty µ vycházet z příslušných certifikátů.

Metody výpočtu přivazovacích – upevňovacích sil

Pro zajištění bezpečné fixace manipulačních jednotek – obecně jakéhokoliv nákladu, resp. samostatného břemene na ložné ploše silničního vozidla, jakož i přívěsu, návěsu apod., je třeba zajistit, aby:

  1. Součet sil ve všech směrech se rovnal nule.

  2. Součet momentů v jakémkoliv půdorysu se rovnal nule.

Pozornost je nutno věnovat též uvazovacím – fixačním prostředkům, jakož i vázacím bodům na vozidle určeném pro převezení příslušného nákladu – viz dále.

Fixace nákladu – břemene (dále bude používán jednotný pojem břemeno) spočívá ve vyrovnání všech sil působících na břemeno, a to jeho zajištěním, blokováním a/nebo přivázáním. Zajištění představuje úplné pasivní spojení fixovaného břemene s příslušným dopravním prostředkem; je hlavně používáno při dopravě kontejnerů – viz výše. Blokování vyplývá pouze z pasivního spojení v blokovaném směru, a proto je často kombinováno ještě i s přivazováním. Základní způsoby přivazování pak tvoří:

  • třecí přivazování (třecí síla je zvyšována přičítáním svislých složek síly k hmotnosti břemene) – toto přivazování je charakterizováno zadržením, které je vytvářeno silou na ložné ploše a pasivním spojením ve svislém směru dolů,

  • přímé přivazování (přivazovací prostředky jsou přímo připevněny k pevným částem břemene nebo určeným připojovacím bodům) – toto přivazování představuje úplné pasivní spojení, které dovoluje břemeni malé pohyby, jejichž velikost závisí na pružnosti přivazovacího prostředku a silách působících na břemeno.

Stabilita nepřivázaného břemene

Pokud je uvažováno s přepravou volně loženého břemene, je nutno předem ověřit jeho stabilitu. Je nutno vzít v úvahu, že takto přepravované břemeno se může převrátit:

  1. ve směru jízdy vozidla – zejména při brzdění,

  2. proti směru jízdy vozidla – zejména při rozjezdu a zrychlení,

  3. kolmo na směr jízdy vozidla – zejména při zatáčení.

V této souvislosti je třeba ověřit stabilitu břemene a to jak v podélném směru (osa x), tak ve směru příčném (osa Y) – viz následující obrázek.

Ověřování stability nepřivázaného břemene

V obrázku znamená:

1 Těžiště břemene

2 Posuzované břemeno

3 Hrana klopení

Fx Podélná síla břemene

Fy Příčná síla břemene

Fz Svislá síla břemene

Pro zajištění stability znázorněného břemene musejí být splněny zejména následující podmínky:

1. Fz . bx,y > Fx,y . d

2. bx,y > (Fx,y / Fz) . d

Nestabilní břemena budou mít vysoko položené těžiště k rozměrům dolní základny. Přitom platí, že čím bude výše umístěno těžiště posuzovaného břemene a čím bude menší jeho dolní základna, tím bude břemeno méně stabilní. Bylo by účelné, aby břemeno (manipulační jednotka) mělo vyznačeno těžiště, pokud jeho výška přesahuje 1 000 mm. V případech, kdy se poloha těžiště nenalézá v geometrickém středu břemene, je vyznačení skutečné polohy těžiště bezpodmínečně nutné. Manipulační značku "těžiště“ – viz následující obrázek – je třeba umístit (pokud je to možné) na všech šesti stěnách příslušného břemene, minimálně však na čtyřech bočních stěnách, a to v místech skutečného promítnutí polohy těžiště. U nestabilních břemen je třeba vzít v úvahu riziko překlopení a po jeho vyhodnocení případně provést upevnění břemene proti překlopení – viz dále.

Manipulační značka "těžiště“

Fixace břemene blokováním

  • Opětovně je vhodné zdůraznit, že blokování spočívá pouze v pasivním spojení v blokovaném směru, resp. směrech. Je mj. srovnatelné se zajišťováním nákladů v kontejnerech – viz výše "Zajišťovací prostředky pro náklady kontejnerů“.

Ve schematickém (levém) obrázku znamená:

1 Těžiště břemene

2 Břemeno

3 Blokovací zařízení

Blokované břemeno
Fixace břemene blokováním

Blokování břemene jenom u jeho základny – viz pravý obrázek – je vhodné pouze pro stabilní břemena. Nestabilní břemena je nutno současně přivázat – viz dále, popřípadě je zajistit blokováním též proti překlopení dle následujícího obrázku. V takovémto případě je nutno horní blokaci umístit nad těžiště nestabilního břemene.

Blokování břemene s horní blokací

Přivazování břemene přes vrchol

Přivazování břemene přes vrchol (horní plochu) spočívá v napínání přivazovacích prostředků potřebnou napínací silou FT takové velikosti, aby se zvýšila třecí síla na kontaktu povrchu břemene s ložnou plochou vozidla, která zamezí jakémukoliv posunu břemene. Tento způsob fixace sleduje:

  1. zamezení posunu fixovaného břemene, nebo

  2. zamezení převrácení a současně i posunu fixovaného břemene.

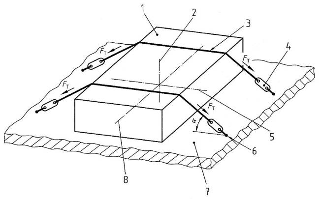
Přivazování k zamezení posunu

Přivazování břemene přes vrchol za účelem pouze zamezení jeho posunu je znázorněno na následujícím obrázku.

V obrázku znamená:

1 Přivazované břemeno

2 Svislá osa

3 Přivazovací prostředek

4 Napínací zařízení

5 Příčná osa

6 Přivazovací bod

7 Vodorovná plocha

8 Podélná osa

Při třecím přivazování je všeobecně nesnadné stanovit hodnoty napínacích sil. Dokonce je známo, že i když jsou napínací síly pečlivě nastaveny, mohou se v průběhu přepravy břemene změnit. Proto lze vyslovit toto důležité všeobecné pravidlo:

Napínací síly by měly být v průběhu prováděné přepravy ověřovány ve stanovených intervalech

Dalším předpokladem je, že výpočet napínacích sil může být při třecím přivazování opakován při:

  • přítomnosti indikátorů napínacích sil nebo jiných prostředků pro ověření nastavených napínacích sil, nebo

  • mohou být použita napínací zařízení, která jsou označena normalizovanou ruční silou (zbytkovou silou po uvolnění rukojeti napínacího zařízení).

Vrchní úvazy – vedené ze strany na stranu vrchem přes břemeno – představují sice kvalitní způsob fixování břemen (nákladů), mají ale jedno důležité omezení. Takovýto úvaz je nejúčinnější, pokud jeho úhel mezi ložnou plochou vozidla a vertikální částí úvazu tvoři 90°. Pokud se uvedený úhel zmenšuje, ztrácí tento úvaz svůj efekt. Obecně lze říci, že úvazy v rozmezí 90° až 75° jsou plně funkční, při úhlech 75° až 30° je třeba počet úvazů zdvojnásobit a při úhlech menších než 30° již nemají téměř

Dasi - digitální asistent
Dasi




Nahrávám...
Nahrávám...